Это история, которая случается со многими девушками. История о наивности, об искренних чувствах, когда ты влюбляешься и очень быстро погружаешься в отношения, веришь человеку, открываешься ему. А потом приходить разочарование и, к сожалению, такое в жизни тоже бывает.
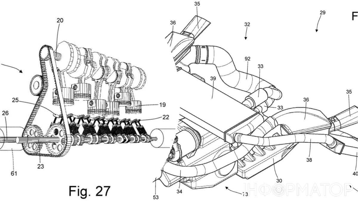
В основе новейшего двигателя лежит гибридная технология, похожая на базовую комплектацию Corvette E-Ray, правда, существенно доработанная
Итальянский автопроизводитель Ferrari оказался в центре внимания из-за собственной разработки – водородного двигателя. Инновации изложены в документе по авторству Фабрицио Фаваретто, менеджера по инновациям компании. В нем изложены амбициозные планы по созданию перевернутого рядного шестицилиндрового двигателя с двойным наддувом.
В патенте представлена схема, что существенно отличается от обычных концепций. В ее основе – гибридная технология, похожая на базовую комплектацию Corvette E-Ray. Впрочем, она была существенно доработана: электродвигатель спереди и двигатель внутреннего сгорания сзади обеспечивают уникальную конфигурацию. Двигатель работает на газообразном водороде, установлен в перевернутом положении для оптимизации распределения веса и аэродинамических характеристик.

Центральная часть патента посвящена принудительной индукции. Ferrari предлагает несколько методов, включая использование центробежных компрессоров, а также систему типа MGU-H с турбиной, работающую на выхлопных газах. Эти инновации направлены на повышение производительности и эффективности двигателя.
Особое внимание уделено компонентам двигателя, обеспечивающим его надежную работу в перевернутом положении. Масляные насосы и системы охлаждения расположены так, чтобы обеспечить легкое обслуживание. Кроме того, патент подчеркивает важность короткой колесной базы по улучшению управляемости и маневренности авто. Это подчеркивает стремление Ferrari к созданию спортивных автомобилей с выдающимися динамическими характеристиками.
Несмотря на революционный потенциал предлагаемой системы, некоторые эксперты выразили скептицизм по поводу ее реализации. Однако Фаваретто и его команда уверены в возможностях своего проекта, указывая на ранние успешные разработки компании, в частности, рядную шестерку на базе Lampredi V-12.
Напомним, на днях итальянская компания-производитель суперкаров Bugatti показала новый двигатель, одновременно подтвердив информацию о том, что новый гибрид V16 заменит W16 уже в новом гиперкаре, который выпустит изготовитель. Замена Chiron должна появиться уже в июне 2024 года. А в качестве "тизера" производители выпустили видео со звуком двигателя, покрытого углеродным волокном.
Также на днях Информатор писал о том, что на днях в Facebook разразился скандал, спровоцированый публикацией фото Bentley Bentayga с киевской регистрацией в одном из курортных городов на Балканах. Его выложили известные путешественники из США, подписав фото: "почему-то почти все украинские транспортные средства, которые мы видим на Балканах, всегда суперклассные, например, Lamborghini, Ferrari, Range Rover и Bentley". Страница имеет десятки тысяч подписчиков, поэтому реакция не заставила себя ждать. Большинству комментаторов не понравилось, что в Европе есть немало украинских "люксовых" автомобилей.
Подписывайтесь на наш Telegram-канал, чтобы не пропустить важные новости. Подписаться на канал в Viber можно здесь.